您好 ,  欢迎来到59598晟江工业品 登录后可利用更多便捷功能 会员中心  | 新会员注册 [退出]
  • 已选总价:¥0.00
  • 已选数量:0
所有费用均已包含增值税,不含运费。运费详情请参阅运费指导书。
产品详情与编号
序号 产品编号 名称 Packaging unit Thread - M 售价 订购数量
  全部
全部
全部
全部
   
1.0 375956 Clamping bow MAB-9 Packaging unit 12 pc Thread - M M8 ¥3645.00
2.0 228155 Clamping bow MAB-17 Packaging unit 12 pc Thread - M M12 ¥42.90
3.0 375958 Clamping bow MAB-13 Packaging unit 12 pc Thread - M M10 ¥4410.00
4.0 375957 Clamping bow MAB-11 Packaging unit 12 pc Thread - M M10 ¥3935.00
注:本公司对上述参数保有最终解释权,如若变动,恕不通知。
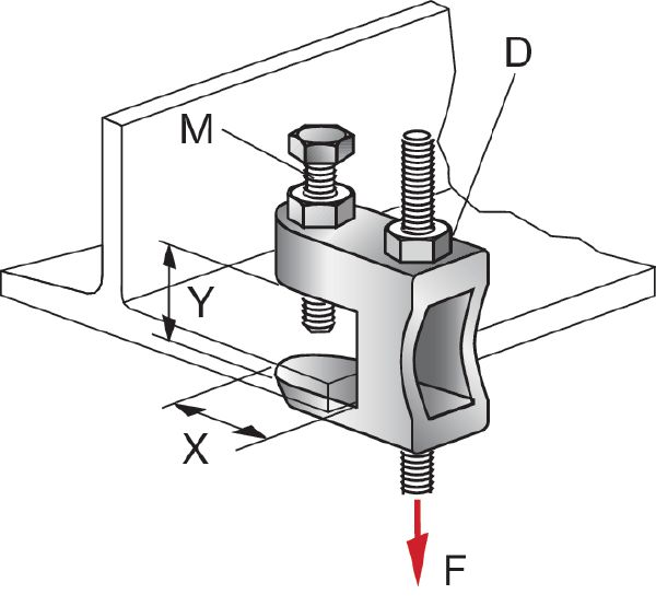
MAB NEW MAB NEW Base material type: Steel Material composition: EN-GJMB – EN 1562 Surface finish: Galvanized Features & Applications Features Through-hole without thread Installation on steel beams requires no drilling or welding Infinite height adjustment possible after loosening the lock nut, also subsequently Applications Fastening to steel beams without drilling or welding

Technical Data

MAB_techndrawing_00375956_APC_fv600
Base material type
Steel
Material composition
EN-GJMB – EN 1562
Surface finish
Galvanized
Copyright ©2012 SME Corporation All Rights Reserved
ICP备案证书号:沪ICP备10013497号-1··上海工商
ɽҵƷ|ٽͷ|ҵ|ܳ|DZ